15Khz RGB CGA YUV Component Video YCbCr to VGA Converter Sca

Riflessioni, eventi, curiosità

15Khz RGB CGA YUV Component Video YCbCr to VGA Converter Sca

Messaggioda Luke77 » gio ott 13, 2011 10:37 am

15Khz RGB CGA YUV Component Video YCbCr to VGA Converter Scaler
Che ne dite?

http://cgi.ebay.com/15Khz-RGB-CGA-Compo ... 169wt_1141
Luke77

Veterano
 
Messaggi: 133
Iscritto il: lun ago 15, 2011 10:38 am
Località: Parabiago (MI)

Re: 15Khz RGB CGA YUV Component Video YCbCr to VGA Converter

Messaggioda cip060 » gio ott 13, 2011 2:00 pm

Ti prego lascia stare tutti quegli ACCROCCHI! prenditi un vecchio televisore a tubo e vivi felice
concludo 89 euro piu spese di spedizione? un televisore a tuvo da 14 pollici te lo tirano dietro nei mercatini al massimo passa in discarica nei centri di raccolta ti metti d'accordo con il ragazzo che gestisce la discarica gli dai 10 euro e te ne fai mettere da parte qualcuno! lo fanno gli extracomunitari non vedo il problema se lo fa'qualche italiano :ride: oppure fiere del radioamatore con 20 euro ti porti a casa un televisore 32 pollici a tubo con SCART per ogni amiga e sei SICURO AL 100% che l'immagine sare SPETTACOLARE

PS per tutti
se non trovate una INDIVSION per a500 o per a1200 lasciate perdere tutte quelle catene di adattatori rgb vga lcd fano pena e trovarne di monitor lcd funzionanti con amiga se non si conosce il modello esatto lasciate perdere soldi BUTTATI
Avatar utente
cip060

Leggenda
 
Messaggi: 7934
Iscritto il: lun feb 17, 2003 9:19 pm
Località: Usa

Re: 15Khz RGB CGA YUV Component Video YCbCr to VGA Converter

Messaggioda Enzo45s » gio ott 13, 2011 2:32 pm

Io vorrei moddare un A520 per avere l'output S-Video (costo zero), se solo sapessi qualcosina in più di elettronica... :riflette:
Immagine
Avatar utente
Enzo45s

Maestro
 
Messaggi: 395
Iscritto il: ven lug 23, 2010 1:28 pm
Località: Salerno

Re: 15Khz RGB CGA YUV Component Video YCbCr to VGA Converter

Messaggioda MacGyverPPC » gio ott 13, 2011 2:36 pm

Se hai l'ingresso S-Video si, ci sono dei mod in rete... se lo ritrovo ti metto il link... e non devi essere un genio per farlo... basta solo mano ferma, stagno e saldatore. :felice:
OS4.1.3Immagine+SAM= ImmagineNG c'è!
SAM440EP: OS4.1.4Up4:con USB2.0 UP,RunInUae integrato con Kickstart 3.1,1.3,CD32 originali, MUI migliorato ecc/HD400GbSata/masterizzatore sataDVD/SB Audigy5.1.
AMIGA1200PPC/060(HomeTower):OS4Classic/USB/BlizzardPPC/BVision/Ram128Mb/HD/CD-DVD/RW :rock:
AMIKIT WinUAE:OS3.9/OS4 FE : AMD A8 x64
Advance
Multitask
Integrated
Grafic
Architecture
Avatar utente
MacGyverPPC

Leggenda
 
Messaggi: 10889
Iscritto il: sab set 22, 2007 4:51 pm
Località: Alessandria

Re: 15Khz RGB CGA YUV Component Video YCbCr to VGA Converter

Messaggioda MacGyverPPC » gio ott 13, 2011 2:55 pm

Mod per A520
http://members.iinet.net.au/~davem2/overclock/a520.html
Per 1200 schema per uscita S-Video:
Guida: http://eab.abime.net/showthread.php?t=57383
http://www.ppa.pl/artykuly/pics/sekcje/ ... chemat.png

Se riesci puoi replicare su una scheda multi foro. E se non sei proprio in gamba ma hai un amico o qualche conoscente bravo in elettronica, gli mostri lo schema con la guida e le foto, magari ti aiuta e la risolvete in due con poco. :felice:
OS4.1.3Immagine+SAM= ImmagineNG c'è!
SAM440EP: OS4.1.4Up4:con USB2.0 UP,RunInUae integrato con Kickstart 3.1,1.3,CD32 originali, MUI migliorato ecc/HD400GbSata/masterizzatore sataDVD/SB Audigy5.1.
AMIGA1200PPC/060(HomeTower):OS4Classic/USB/BlizzardPPC/BVision/Ram128Mb/HD/CD-DVD/RW :rock:
AMIKIT WinUAE:OS3.9/OS4 FE : AMD A8 x64
Advance
Multitask
Integrated
Grafic
Architecture
Avatar utente
MacGyverPPC

Leggenda
 
Messaggi: 10889
Iscritto il: sab set 22, 2007 4:51 pm
Località: Alessandria

Re: 15Khz RGB CGA YUV Component Video YCbCr to VGA Converter

Messaggioda kinmami » ven gen 06, 2012 9:23 am

Ciao!

Ho preso per meno di 20 USD a Shenzhen due di questi adattatori:

http://en.gonbes.com/product_detail.asp?menuid=95&id=23

che posso definire visti i risultati senza pecca e senza lode, nel senso che fanno il loro dovere essendo economicissimi e discretamente affidabili.

Suggerimenti:

la tensione di alimentazione deve essere molto stabile e ben filtrata a 5V DC sul connettore d'ingresso! Consiglio infatti cavi corti ben spessi e possibilmente, per i piu' smaliziati, l'aggiunta sul retro di un condensatore ceramico smd da 100µF 16V o 25V in parallelo sui contatti dell'alimentazione. Cio' compensa in parte la caduta di tensione e riduce il rumore sulla linea. Il consumo di corrente massimo registrato e' stato circa 0.7A, quindi dotatevi di almeno 1A (sul sito del produttore indicano 2A ma per l'impiego con schede da bar probabilmente). Altrimenti l'FPGA impazzisce.

Collegamento:

dotarsi di un connettore Femmina D-SUB DB23 o modificare il cavo scart dal lato TV e saldare all'harness fornito i conduttori in quest'ordine:

AMIGA VIDEO CONVERTER
pin 3--------------RED
pin 4--------------GREEN
pin 5--------------BLUE
pin 16,17,18-----BLACK
pin 10------------GREY

dove: RED = Rosso, GREEN = Verde, BLUE = Blu, BLACK = Massa video, GREY = Composito

tenere i cavi (che sono di pessima qualita') quanto piu' corti possibile e lasciare il GIALLO non connesso. Meglio se i collegamenti vengono fatti con cavi coassiali o schermati di solito presenti nel cavo scart per la TV. Ovviamente la presa scart va rimossa.

Funzionamento:
effettuati i collegamenti ed alimentando il tutto, bastera' premere il pulsante AUTO e lasciare che la scheda sincronizzi il segnale proveniente da Amiga.
nel menu (inzialmente in lingua cinese) va dapprima impostato l'inglese e poi se occorre le varie opzioni tra risoluzione, aspetto, gradiente dei colori, ect. (continua...)
PPC Sam460ex Complete System AmigaOS 4.1u4 2GB RAM 1TB HD ATI RadeonHD 4650
Amiga A600 1.3/3.1 HD 4GB + A630 MMU 25MHz 32MB RAM
Amiga A1200 3.0 HD 4GB + Blizzard 1260 MMU FPU 66.7MHz 128MB RAM 58MIPS 37MFLOPS
Amiga Escom A1200 3.1 HD 4G + Blizzard 1260 MMU FPU 80MHz 64MB RAM 63MIPS 45MFLOPS
Amiga CD32
Amiga Minimig v1.1 4MB with ARM controller SPI Mod
Commodore 64x Ultimate
SHARP X68000 Compact XVI 16MHz 6MB RAM 1GB CF HD
Avatar utente
kinmami

Esperto
 
Messaggi: 71
Iscritto il: ven dic 30, 2011 10:07 am
Località: Tokyo, Giappone

Re: 15Khz RGB CGA YUV Component Video YCbCr to VGA Converter

Messaggioda kinmami » ven gen 06, 2012 9:27 am

A 800x600 la visualizzazione e' sembrata fluida ed abbastanza buona con rarissimi artefatti.
Per il test ho utilizzato MORTAL KOMBAT 2 ed un LCD HP Compaq LA2205wg da 22 pollici appunto.
Non e' stato necessario agire sui trimmer per aggiustare i colori e vi assicuro che il dissipatore montato sul FPGA scalda quindi non rimuovetelo!

Se avrete cura nel fare i collegamenti, la qualita' finale sara' buona, piu' che accettabile.
PPC Sam460ex Complete System AmigaOS 4.1u4 2GB RAM 1TB HD ATI RadeonHD 4650
Amiga A600 1.3/3.1 HD 4GB + A630 MMU 25MHz 32MB RAM
Amiga A1200 3.0 HD 4GB + Blizzard 1260 MMU FPU 66.7MHz 128MB RAM 58MIPS 37MFLOPS
Amiga Escom A1200 3.1 HD 4G + Blizzard 1260 MMU FPU 80MHz 64MB RAM 63MIPS 45MFLOPS
Amiga CD32
Amiga Minimig v1.1 4MB with ARM controller SPI Mod
Commodore 64x Ultimate
SHARP X68000 Compact XVI 16MHz 6MB RAM 1GB CF HD
Avatar utente
kinmami

Esperto
 
Messaggi: 71
Iscritto il: ven dic 30, 2011 10:07 am
Località: Tokyo, Giappone

Re: 15Khz RGB CGA YUV Component Video YCbCr to VGA Converter

Messaggioda kinmami » ven gen 06, 2012 9:34 am

Prime foto
Allegati
2012-01-06 14.24.35.jpg
2012-01-06 14.37.34.jpg
PPC Sam460ex Complete System AmigaOS 4.1u4 2GB RAM 1TB HD ATI RadeonHD 4650
Amiga A600 1.3/3.1 HD 4GB + A630 MMU 25MHz 32MB RAM
Amiga A1200 3.0 HD 4GB + Blizzard 1260 MMU FPU 66.7MHz 128MB RAM 58MIPS 37MFLOPS
Amiga Escom A1200 3.1 HD 4G + Blizzard 1260 MMU FPU 80MHz 64MB RAM 63MIPS 45MFLOPS
Amiga CD32
Amiga Minimig v1.1 4MB with ARM controller SPI Mod
Commodore 64x Ultimate
SHARP X68000 Compact XVI 16MHz 6MB RAM 1GB CF HD
Avatar utente
kinmami

Esperto
 
Messaggi: 71
Iscritto il: ven dic 30, 2011 10:07 am
Località: Tokyo, Giappone

Re: 15Khz RGB CGA YUV Component Video YCbCr to VGA Converter

Messaggioda kinmami » ven gen 06, 2012 9:35 am

collegamenti provvisori durante il test
Allegati
2012-01-06 14.25.05.jpg
2012-01-06 14.24.47.jpg
PPC Sam460ex Complete System AmigaOS 4.1u4 2GB RAM 1TB HD ATI RadeonHD 4650
Amiga A600 1.3/3.1 HD 4GB + A630 MMU 25MHz 32MB RAM
Amiga A1200 3.0 HD 4GB + Blizzard 1260 MMU FPU 66.7MHz 128MB RAM 58MIPS 37MFLOPS
Amiga Escom A1200 3.1 HD 4G + Blizzard 1260 MMU FPU 80MHz 64MB RAM 63MIPS 45MFLOPS
Amiga CD32
Amiga Minimig v1.1 4MB with ARM controller SPI Mod
Commodore 64x Ultimate
SHARP X68000 Compact XVI 16MHz 6MB RAM 1GB CF HD
Avatar utente
kinmami

Esperto
 
Messaggi: 71
Iscritto il: ven dic 30, 2011 10:07 am
Località: Tokyo, Giappone

Re: 15Khz RGB CGA YUV Component Video YCbCr to VGA Converter

Messaggioda kinmami » ven gen 06, 2012 9:38 am

schermate di prova senza ottimizzazione risoluzione, aspetto, ect.

(scusate ma lavoravo a quattro mani su uno smartphone coreano e sull'Amiga) :scherza:
Allegati
2012-01-06 14.25.36.jpg
2012-01-06 14.24.21.jpg
PPC Sam460ex Complete System AmigaOS 4.1u4 2GB RAM 1TB HD ATI RadeonHD 4650
Amiga A600 1.3/3.1 HD 4GB + A630 MMU 25MHz 32MB RAM
Amiga A1200 3.0 HD 4GB + Blizzard 1260 MMU FPU 66.7MHz 128MB RAM 58MIPS 37MFLOPS
Amiga Escom A1200 3.1 HD 4G + Blizzard 1260 MMU FPU 80MHz 64MB RAM 63MIPS 45MFLOPS
Amiga CD32
Amiga Minimig v1.1 4MB with ARM controller SPI Mod
Commodore 64x Ultimate
SHARP X68000 Compact XVI 16MHz 6MB RAM 1GB CF HD
Avatar utente
kinmami

Esperto
 
Messaggi: 71
Iscritto il: ven dic 30, 2011 10:07 am
Località: Tokyo, Giappone

Re: 15Khz RGB CGA YUV Component Video YCbCr to VGA Converter

Messaggioda kinmami » ven gen 06, 2012 9:40 am

e questo non poteva mancare... :ahah: :happyboing: :boing:
Allegati
2012-01-06 14.32.31.jpg
PPC Sam460ex Complete System AmigaOS 4.1u4 2GB RAM 1TB HD ATI RadeonHD 4650
Amiga A600 1.3/3.1 HD 4GB + A630 MMU 25MHz 32MB RAM
Amiga A1200 3.0 HD 4GB + Blizzard 1260 MMU FPU 66.7MHz 128MB RAM 58MIPS 37MFLOPS
Amiga Escom A1200 3.1 HD 4G + Blizzard 1260 MMU FPU 80MHz 64MB RAM 63MIPS 45MFLOPS
Amiga CD32
Amiga Minimig v1.1 4MB with ARM controller SPI Mod
Commodore 64x Ultimate
SHARP X68000 Compact XVI 16MHz 6MB RAM 1GB CF HD
Avatar utente
kinmami

Esperto
 
Messaggi: 71
Iscritto il: ven dic 30, 2011 10:07 am
Località: Tokyo, Giappone

Re: 15Khz RGB CGA YUV Component Video YCbCr to VGA Converter

Messaggioda kinmami » ven gen 06, 2012 9:51 am

il bagliore che vedete in alto a SX in ogni foto e' il riflesso del flash.

E' ovvio che una soluzione integrata e' preferibile, ma come compromesso non dispendioso ed in pratica adattabile ad ogni Amiga ve bene.

Nel caso del CD32, privo di porta video D-SUB e quindi impossibile da connettere con il cavo di cui sopra, ecco lo schema interno su dove prelevare i segnali:
Allegati
cd32rgb.png
DB23F.jpg
DB23F.jpg (13.63 KiB) Osservato 6610 volte
PPC Sam460ex Complete System AmigaOS 4.1u4 2GB RAM 1TB HD ATI RadeonHD 4650
Amiga A600 1.3/3.1 HD 4GB + A630 MMU 25MHz 32MB RAM
Amiga A1200 3.0 HD 4GB + Blizzard 1260 MMU FPU 66.7MHz 128MB RAM 58MIPS 37MFLOPS
Amiga Escom A1200 3.1 HD 4G + Blizzard 1260 MMU FPU 80MHz 64MB RAM 63MIPS 45MFLOPS
Amiga CD32
Amiga Minimig v1.1 4MB with ARM controller SPI Mod
Commodore 64x Ultimate
SHARP X68000 Compact XVI 16MHz 6MB RAM 1GB CF HD
Avatar utente
kinmami

Esperto
 
Messaggi: 71
Iscritto il: ven dic 30, 2011 10:07 am
Località: Tokyo, Giappone

Re: 15Khz RGB CGA YUV Component Video YCbCr to VGA Converter

Messaggioda kinmami » ven gen 06, 2012 9:56 am

Ah! Dimenticavo...

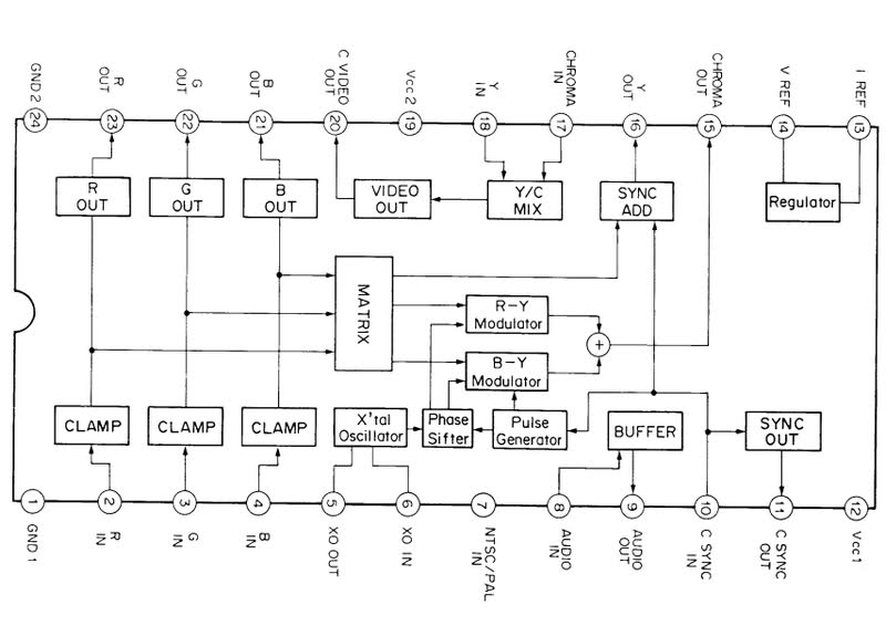
la massa video, cavo NERO, puo' essere riportata al pin 1 oppure 24 dell'integrato Sony CXA1145M.
Allegati
vrppbm.jpg
PPC Sam460ex Complete System AmigaOS 4.1u4 2GB RAM 1TB HD ATI RadeonHD 4650
Amiga A600 1.3/3.1 HD 4GB + A630 MMU 25MHz 32MB RAM
Amiga A1200 3.0 HD 4GB + Blizzard 1260 MMU FPU 66.7MHz 128MB RAM 58MIPS 37MFLOPS
Amiga Escom A1200 3.1 HD 4G + Blizzard 1260 MMU FPU 80MHz 64MB RAM 63MIPS 45MFLOPS
Amiga CD32
Amiga Minimig v1.1 4MB with ARM controller SPI Mod
Commodore 64x Ultimate
SHARP X68000 Compact XVI 16MHz 6MB RAM 1GB CF HD
Avatar utente
kinmami

Esperto
 
Messaggi: 71
Iscritto il: ven dic 30, 2011 10:07 am
Località: Tokyo, Giappone

Re: 15Khz RGB CGA YUV Component Video YCbCr to VGA Converter

Messaggioda kinmami » ven gen 06, 2012 9:59 am

E per chi cerca connettori a 23 pin, posso consigliare il negozio on line in USA da dove li ho ordinati:

http://www.connections-usa.com/DB23FS-d ... ctors.html

merce rara! :tie:
PPC Sam460ex Complete System AmigaOS 4.1u4 2GB RAM 1TB HD ATI RadeonHD 4650
Amiga A600 1.3/3.1 HD 4GB + A630 MMU 25MHz 32MB RAM
Amiga A1200 3.0 HD 4GB + Blizzard 1260 MMU FPU 66.7MHz 128MB RAM 58MIPS 37MFLOPS
Amiga Escom A1200 3.1 HD 4G + Blizzard 1260 MMU FPU 80MHz 64MB RAM 63MIPS 45MFLOPS
Amiga CD32
Amiga Minimig v1.1 4MB with ARM controller SPI Mod
Commodore 64x Ultimate
SHARP X68000 Compact XVI 16MHz 6MB RAM 1GB CF HD
Avatar utente
kinmami

Esperto
 
Messaggi: 71
Iscritto il: ven dic 30, 2011 10:07 am
Località: Tokyo, Giappone

Re: 15Khz RGB CGA YUV Component Video YCbCr to VGA Converter

Messaggioda cip060 » ven gen 06, 2012 10:16 am

Grazie di tutto e' possibile usare anche quelli 26 pin della parallela molto piu' facile trovarli basta tagliare diagonalmente i 3 pin con un seghetto :ride: :ride: lo faccio da anni purtroppo proprio perche' sono introvabili quelle a 23
Riguardo al cd 32 ci sono dei punti molto piu' facili da saldare e singolarmente piuttosto che scomodare il chip integrato
Avatar utente
cip060

Leggenda
 
Messaggi: 7934
Iscritto il: lun feb 17, 2003 9:19 pm
Località: Usa

Prossimo

Torna a Amiga in generale

Chi c’è in linea

Visitano il forum: Nessuno e 10 ospiti

cron